CA Catalyst connectors expose product data to consuming products such as CA Spectrum Service Assurance and CA IT Process Automation Manager for visualization, analysis, and management in a unique, heterogeneous context.
Note: You can install the CA ITCM connector with an existing domain manager or scalability server only on Windows operating systems.
CA ITCM connector supports SSA 3.2.0. The CA ITCM connector interfaces with the DSM domain manager or a standalone scalability server registered with a domain manager to expose CA ITCM data for use by products that leverage the CA Catalyst infrastructure. Integrating CA ITCM data with consuming products, such as CA Spectrum SA, enables reconciliation and correlation of entity properties with existing configuration items (CIs). Integration also lets you evaluate the data in a different, broader business service context.
Note: CA ITCM connector 3.2.0 supports only the Northbound on SOI 3.2.0.
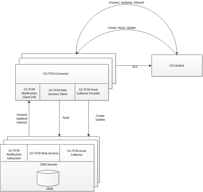
With CA Catalyst connector integration, there is one CA ITCM connector per domain. The CA ITCM connector interfaces with the domain manager using the following CA ITCM components or functionality:
CA ITCM Web Services is used to retrieve information about the CIs to be published to CA Catalyst connector.
Events about updates to published CIs are received through the CA ITCM event notification subsystem.
The Asset Collector component is used during CA Spectrum SA subscribe operations for Computer CI data. The Asset Collector files help to move the inbound create data and update data from the connector to the CA ITCM MDB.
The following graphic summarizes CA ITCM - CA Catalyst connector integration:

Note: For more general information about the CA Catalyst infrastructure and its connectors, information that applies to all connectors, and information about custom connector integrations, see the Connector Guide distributed with CA Spectrum SA. For complete information about installing, configuring, and using the CA ITCM connector, see the CA IT Client Manager Connector Guide also distributed with CA Spectrum SA.
|
Copyright © 2013 CA.
All rights reserved.
|
|