The following illustration shows an overview of Construction using the CSE and the Construction Client:

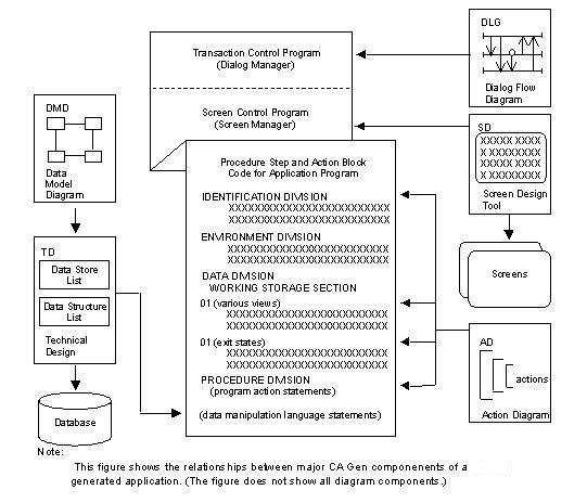
The following illustration gives a high-level overview of the relationships between certain CA Gen diagrams and the structure of a generated application. The application in this example is an online, character-based (block mode) application generated in COBOL. The illustration neither shows all of the diagrams nor all components of a generated application.
Entity types in the Data Model (DM) are implemented as records in the Technical Design (TD). These records become physical components of the database. The application program references and manipulates these records.
Transfers and links on the Dialog Flow Diagram (DLG) are incorporated into a transaction controller appropriate to the application type:

|
Copyright © 2013 CA.
All rights reserved.
|
|