Les connecteurs CA Catalyst présentent les données de produit aux produits de consommation tels que CA Spectrum Service Assurance et CA IT Process Automation Manager pour la visualisation, l'analyse et la gestion dans un contexte unique et hétérogène.
Remarque : Vous pouvez installer le connecteur Client Automation avec un gestionnaire de domaines ou un serveur de modularité existant uniquement sur les systèmes d'exploitation Windows.
Le connecteur Client Automation prend en charge SSA 3.2.0. Il se connecte au gestionnaire de domaines DSM ou à un serveur de modularité autonome enregistré sur un gestionnaire de domaines pour mettre à disposition les données de Client Automation utilisées par les produits qui exploitent l'infrastructure de CA Catalyst. L'intégration des données Client Automation à des produits consommateurs, comme CA Spectrum SA, permet le rapprochement et la corrélation des propriétés d'entité avec des éléments de configuration existants. Elle vous permet également d'évaluer les données dans un contexte de service métier différent et plus général.
Remarque : Le connecteur CA ITCM 3.2.0 prend en charge uniquement Northbound sur SOI 3.2.0.
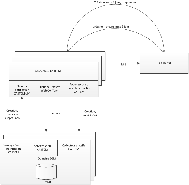
L'intégration du connecteur CA Catalyst suppose un connecteur Client Automation par domaine. Le connecteur de Client Automation se connecte avec le gestionnaire de domaines à l'aide de la fonctionnalité ou des composants Client Automation suivants :
Les services Web de Client Automation sont utilisés pour récupérer des informations sur les éléments de configuration à publier dans le connecteur CA Catalyst.
Les événements concernant les mises à jour des éléments de configuration publiés sont reçus dans le sous-système de notification d'événements de Client Automation.
Le collecteur d'actifs est utilisé durant les opérations d'abonnement à CA Spectrum SA pour les données d'élément de configuration d'ordinateur. Les fichiers du collecteur d'actifs permettent de déplacer les données de création et les données de mise à jour entrantes du connecteur vers la MDB Client Automation.
Le graphique suivant résume l'intégration entre Client Automation et le connecteur CA Catalyst :

Remarque : Pour plus d'informations générales sur l'infrastructure de CA Catalyst et ses connecteurs, sur tous les connecteurs et sur les intégrations de connecteurs personnalisés, consultez le Manuel du connecteur distribué avec CA Spectrum SA. Pour des informations complètes sur l'installation, la configuration et l'utilisation du connecteur Client Automation, consultez le Manuel du connecteur de CA IT Client Manager distribué également avec CA Spectrum SA.
|
Copyright © 2014 CA Technologies.
Tous droits réservés.
|
|