Time Series Facility (TSF) 显示了 CA Chorus 中的应用程序性能数据。在可以使用 TSF 查看应用程序性能数据之前,先在 CA Detector 中启动统计信息收集。统计信息收集是指在特定时间段(收集间隔)内收集系统统计信息并将数据发送到 TSF 的过程。
注意:此配置不是与 CA Chorus Infrastructure Management for Networks and Systems 集成所需要的。
重要提示! 此步骤必须在 CA Chorus Software Manager 外手工执行。
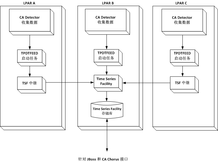
下图显示了单个企业的统计信息收集配置:

在前面图表中,收集间隔结束时,CA Detector 使用 TPDTFEED 启动任务将收集数据从每个受监控的 DB2 子系统(LPAR A、B 和 C)自动传递到 TSF。TSF 中继将数据从远程 LPAR A 和 C 传递给 TSF。TSF 将数据保存在 TSF 存储库中。
|
版权所有 © 2013 CA。
保留所有权利。
|
|