Introducing CA ARCserve Backup Agents and Options › Using Options › Enterprise Option for SAP R/3 for Oracle › Introducing the Option › Option Integration with SAP R/3 for Oracle › How SAPDBA Restores Data
How SAPDBA Restores Data
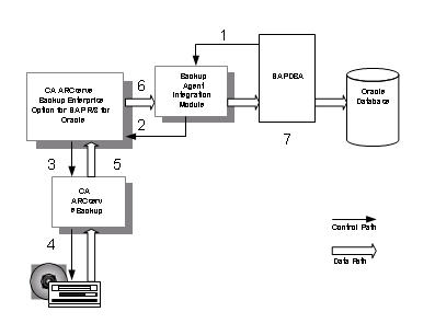
The option restores Oracle objects with SAPDBA using the following steps:
- A user issues a restore command from the SAPDBA user interface.
SAPDBA directs the request to the backup option integration module.
- The backup option integration module receives the restore request and passes it to the option.
- The option passes the restore request to CA ARCserve Backup.
- CA ARCserve Backup retrieves the data from a storage medium.
- CA ARCserve Backup passes the restore data to the option.
- The option passes the restore data to the backup option integration module.
- SAPDBA restores the data to the database.
