Function Structure Charts
›
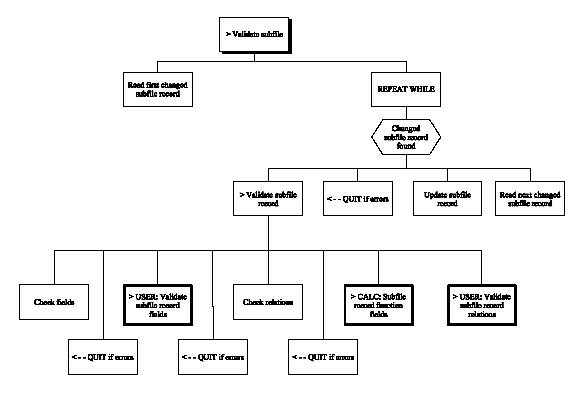
Edit File (Chart 5 of 7)
Edit File (Chart 5 of 7)
Copyright © 2014 CA. All rights reserved.
Rate This Page
The content on this page was useful to me.
Disagree strongly
1
2
3
4
5
Agree strongly
Submit rating and optional comments about this page