//stepname EXEC PGM=TMSFORMT[,PARM='[DATEFMT=(fmt)][,DEFAULT][,NEW[,TMSXITE=(your.exite.name),TMSXITU=(your.exitu.name)]]'] //STEPLIB DD DSN=CAI.CTAPLINK,DISP=SHR //TMSRPT DD SYSOUT=A //TMC DD DSN=CAI.CA1.TMC,DISP=OLD,DCB=(BLKSIZE=n*340) *NOTE //RESTORE DD DUMMY //TMDATA DD DSN=tmdata.dsn,DISP=OLD,DCB=(BUFNO=60) //SYSIN DD * (control statements here) /*
Note: The BLKSIZE may be any multiple of the LRECL, 340, but not 680. When blocking the TMC, the smallest valid block size is 1020. Also, when formatting a small blocked test TMC, ensure that it consists of at least 2 blocks. A recommended value is BLKSIZE=8840. For small block sizes, an appropriate BUFNO=nn value may be added to the DCB parameter to improve performance.
Parameter Definitions
Specifies the date format to be printed on TMS Report 30. The date pattern indicated by (fmt) is limited to 10 bytes and must be enclosed in parentheses. This parameter is optional. For more information on valid date formats, see Overriding the Preferred Date Pattern.
Indicates that all new records should have the eligible for RDS override bit set in FLAG1 (X'01') to provide retention override processing by TMSEXPDT. This is not needed if TMDATA is DUMMY.
Indicates that a new TMC is being created, and the CA 1 SVC has not been installed. This will prevent a call to the SVC. NEW must be specified in formatting a test TMC on the production system.
Specifies the name of the TMSXITE exit. This is required when using PARM=NEW and to support alphanumeric volsers.
Specifies the name of the TMSXITU exit. This is required when using PARM=NEW and to support alphanumeric volsers.
Notes:
JCL Considerations
Defines the volume record information output from TMSIDATA or TMSCONVR. This DD statement must be present. If there is no user data, specify:
DD DUMMY,DCB=BLKSIZE=340
Defines the control statement data set. This may be any sequentially readable data set (LRECL=80).
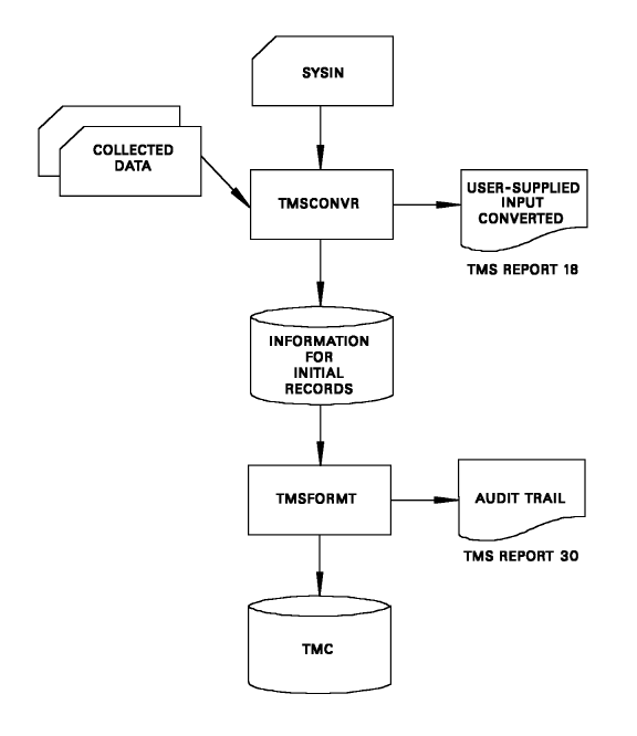
The following diagram illustrates TMC Creation With TMSFORMT:

|
Copyright © 2013 CA Technologies.
All rights reserved.
|
|