上一主题: CA Access Control for Virtual Environments 环境体系结构

下一主题: 保护的对象是什么?

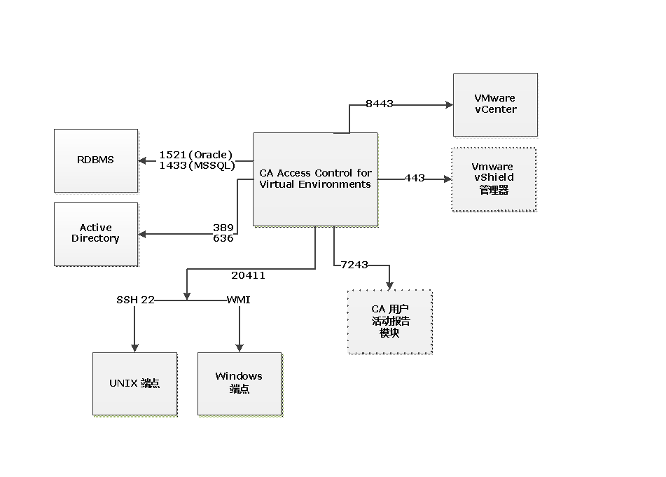
CA Access Control for Virtual Environments 网络协议和端口

下图显示 CA Access Control for Virtual Environments 使用的网络协议和端口:

下图显示 CA Access Control for Virtual Environments 使用的网络协议和端口:

注意:虚线表示可选组件