Function Structure Charts
› Edit File (Chart 5 of 7)
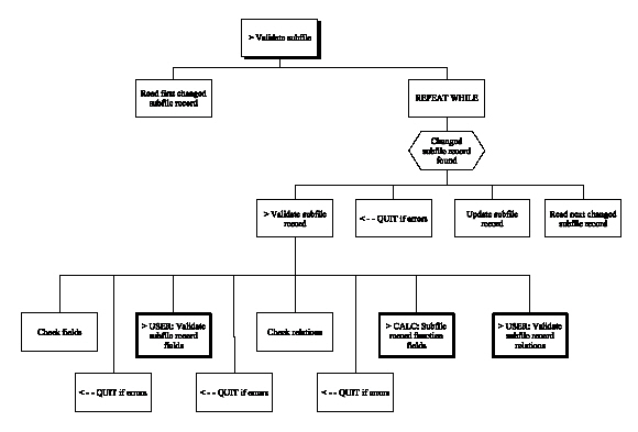
Edit File (Chart 5 of 7)
Copyright © 2011 CA. All rights reserved.
Tell Technical Publications how we can improve this information